Соединительные изделия
Свернуть описания Развернуть описания
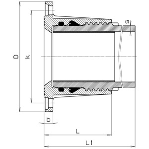
Двухкамерный фланец для асбестоцементных труб
Артикул:7103
| DNфланца, (мм) | Диаметр трубы, (мм) | D, (мм) | К, (мм) | b, (мм) | Материал | L(собранный), (мм) | Болты | Вес, (кг) | |
| Количество | Резьба | ||||||||
| 80 | 98 | 200 | 160 | 22 | S | 64 | 8 | M 16 | 2,6 |
| 100 | 120 | 220 | 180 | 23 | G | 62 | 8 | M 16 | 2,8 |
| 150 | 176 | 285 | 240 | 46 | S | 66 | 8 | M 20 | 5,8 |
| 150 | 178 | 290 | 244 | 48 | S | 66 | 8 | M 20 | 5,8 |
S — из ковкого чугуна;
G — из серого чугуна
G — из серого чугуна
Дополнительно:
Заглушка фланцевая
Артикул:1560
| DN, (мм) | d, (мм) | b, (мм) | Вес, (кг) | |||
| PN 10 | PN 16 | PN 10 | PN 16 | PN 10 | PN 16 | |
| 50 | 200 | 200 | 19 | 19 | 3 | 3 |
| 65 | 200 | 200 | 19 | 19 | 4 | 4 |
| 80 | 200 | 200 | 19 | 19 | 3,6 | 3,6 |
| 100 | 220 | 220 | 19 | 19 | 4,3 | 4,3 |
| 125 | 250 | 250 | 19 | 19 | 5,6 | 5,6 |
| 150 | 285 | 285 | 19 | 19 | 7,2 | 7,2 |
| 200 | 340 | 340 | 20 | 20 | 11 | 10,8 |
| 250 | 400 | 400 | 22 | 22 | 16,9 | 16,6 |
| 300 | 455 | 455 | 24,5 | 24,5 | 26 | 25,5 |
| 350 | 505 | 520 | 24,5 | 26,5 | 33 | 37 |
| 400 | 565 | 580 | 24,5 | 28 | 41 | 49 |
| 500 | 670 | 715 | 26,5 | 31,5 | 65 | 85,5 |
| 600 | 780 | 840 | 30 | 36 | 99,5 | 136 |
| 700 | 895 | 910 | 32,5 | 39,5 | 147 | 179 |
| 800 | 1015 | 1025 | 35 | 43 | 207 | 252 |
| 900 | 1115 | 1125 | 37,5 | 46,5 | 273 | 335 |
| 1000 | 1230 | 1255 | 40 | 50 | 360 | 453 |
| 1200 | 1455 | 1485 | 45 | 57 | 582 | 737 |
Материал: ковкий чугун.
Варианты покрытия:
- эпоксидное (минимальная толщина 250 мкм);
- битумное (наружная часть).
Дополнительно:
Муфта двойная универсальная чугунная
Артикул:1129
Дя чугунных, стальных, асбестоцементных, керамических, стеклопластиковых и ПВХ труб.
Материал: ковкий чугун (GGG 40), с эпоксидным покрытием.
| Толеранс, (мм) | DN, (мм) | Длина L, (мм) | D, (мм) |
| 59,0-73,0 | 50 | 197 | 153 |
| 60,0-80,0 | 50 | 186 | 153 |
| 72,0-85,0 | 65 | 197 | 166 |
| 88,0-103,0 | 80 | 197 | 185 |
| 108,0-128,0 | 100 | 197 | 211 |
| 133,0-159,0 | 125 | 206 | 237 |
| 139,0-153,0 | 125 | 197 | 237 |
| 159,0-182,0 | 150 | 197 | 274 |
| 165,0-195,0 | 175 | 222 | 299 |
| 192,0-209,0 | 175 | 197 | 299 |
| 194,0-226,0 | 200 | 222 | 323 |
| 218,0-235,0 | 200 | 197 | 323 |
| 244,0-276,0 | 250 | 242 | 362 |
| 266,0-297,0 | 250 | 242 | 362 |
| 271,0-289,0 | 250 | 197 | 390 |
| 315,0-345,0 | 300 | 242 | 362 |
| 322,0-340,0 | 300 | 197 | 401 |
| 350,0-365,0 | 350 | 220 | 470 |
| 374,0-391,0 | 350 | 220 | 494 |
| 375,0-405,0 | 350 | 242 | 494 |
| 400,0-435,0 | 400 | 292 | 522 |
| 417,0-437,0 | 400 | 292 | 522 |
| 435,0-470,0 | 400 | 292 | 522 |
| 475,0-510,0 | 450 | 292 | 608 |
| 499,0-534,0 | 500 | 292 | 620 |
| 526,0-546,0 | 500 | 292 | 640 |
| 530,0-565,0 | 500 | 292 | 620 |
| 610,0-645,0 | 600 | 292 | 750 |
| 630,0-650,0 | 600 | 220 | 750 |
| 645,0-680,0 | 600 | 292 | 750 |
| 710,0-745,0 | 700 | 300 | 854 |
| 733,0-748,0 | 700 | 220 | 854 |
| 810,0-845,0 | 800 | 300 | 958 |
| 837,0-852,0 | 800 | 220 | 958 |
| 909,0-924,0 | 900 | 220 | 1030 |
| 940,0-955,0 | 900 | 220 | 1060 |
| 1011,0-1026,0 | 1000 | 220 | 1130 |
| 1043,0-1058,0 | 1000 | 220 | 1160 |
Дополнительно:
Муфта-фланец универсальная чугунная
Артикул:1131
Для чугунных, стальных, асбестоцементных, керамических, стеклопластиковых и ПВХ труб
Материал: ковкий чугун (GGG 40), с эпоксидным покрытием.
| Толеранс, (мм) | DN, (мм) | Длина L, (мм) | D, (мм) |
| 59,0-73,0 | 50 | 139 | 153 |
| 60,0-80,0 | 50 | 145 | 153 |
| 72,0-85,0 | 65 | 139 | 166 |
| 88,0-103,0 | 80 | 129 | 185 |
| 108,0-128,0 | 100 | 129 | 211 |
| 133,0-159,0 | 125 | 140 | 237 |
| 139,0-153,0 | 125 | 131 | 237 |
| 159,0-182,0 | 150 | 131 | 274 |
| 165,0-195,0 | 175 | 183 | 299 |
| 192,0-209,0 | 175 | 131 | 299 |
| 194,0-226,0 | 200 | 183 | 323 |
| 218,0-235,0 | 200 | 131 | 323 |
| 244,0-276,0 | 250 | 158 | 362 |
| 266,0-297,0 | 250 | 158 | 362 |
| 271,0-289,0 | 250 | 134 | 390 |
| 315,0-345,0 | 300 | 158 | 362 |
| 322,0-340,0 | 300 | 134 | 401 |
| 350,0-365,0 | 350 | 170 | 470 |
| 374,0-391,0 | 350 | 220 | 494 |
| 375,0-405,0 | 350 | 200 | 494 |
| 400,0-435,0 | 400 | 209 | 522 |
| 417,0-437,0 | 400 | 292 | 522 |
| 435,0-470,0 | 400 | 298 | 522 |
| 475,0-510,0 | 450 | 298 | 608 |
| 499,0-534,0 | 500 | 208 | 620 |
| 526,0-546,0 | 500 | 170 | 648 |
| 530,0-565,0 | 500 | 208 | 620 |
| 610,0-650,0 | 600 | 220 | 750 |
| 645,0-680,0 | 600 | 298 | 750 |
| 710,0-745,0 | 700 | 220 | 854 |
| 733,0-748,0 | 700 | 170 | 854 |
| 810,0-845,0 | 800 | 300 | 958 |
| 837,0-852,0 | 800 | 170 | 958 |
| 909,0-924,0 | 900 | 170 | 1030 |
| 940,0-955,0 | 900 | 170 | 1060 |
| 1011,0-1026,0 | 1000 | 170 | 1130 |
| 1043,0-1058,0 | 1000 | 170 | 1160 |
Дополнительно:
Фланец c ПЭ патрубком для сварки
Артикул:0310 / 0311
| DNфланца, (мм) | Диаметр трубы, (мм) | D, (мм) | К, (мм) | b, (мм) | L, (мм) | L1, (мм) | s | Болты | Вес, (кг) | ||
| (Py6) | (Py10) | Количество | Резьба | ||||||||
| 50 | 63 | 165 | 125 | 19 | 106 | 291 | 3,6 | 5,8 | 4 | M 16 | 4,0 |
| 80 | 90 | 200 | 160 | 20 | 125 | 305 | 5,1 | 8,2 | 8 | M 16 | 6,7 |
| 100 | 110 | 220 | 180 | 21 | 142 | 327 | 6,3 | 10,0 | 8 | M 16 | 9,3 |
| 100 | 125 | 220 | 180 | 19 | 190 | 373 | 7,1 | 11,4 | 8 | M 16 | 12,4 |
| 150 | 160 | 285 | 240 | 23 | 175 | 358 | 9,1 | 14,6 | 8 | M 20 | 16,0 |
| 150 | 180 | 285 | 240 | 19 | 260 | 437 | 10,2 | 16,4 | 8 | M 20 | 23,0 |
| 200 | 200 | 340 | 295 | 20 | 210 | 403 | 11,4 | 18,3 | 8 | M 20 | 28,0 |
| 200 | 225 | 340 | 295 | 20 | 210 | 403 | 12,8 | 20,5 | 8 | M 20 | 28,0 |
Арт. 0310 для ПЭ 80 SDR 11 PN 10 и ПЭ 100 SDR 11 PN 16
Арт. 0311 для ПЭ 80 SDR 17,6 PN 6 и ПЭ 100 SDR 17,6 РN 10
Материал: ковкий чугун, с эпоксидным покрытием.
Дополнительно:
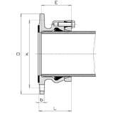
Фланец System 2000 фиксирующий для ПЭ (ПЭ 80100) и ПВХ труб
Артикул:0400
| DNфланца, (мм) | Диаметр трубы, (мм) | D, (мм) | К, (мм) | b, (мм) | E, (мм) | L (собранный),(мм) | Болты | Вес, (кг) | |
| Количество | Резьба | ||||||||
| 50 | 63 | 165 | 125 | 19 | 80 | 90 | 4 | M 16 | 3,6 |
| 60 | 63 | 175 | 135 | 19 | 80 | 90 | 4 | M 16 | 3,8 |
| 60 | 75 | 175 | 138 | 19 | 82 | 92 | 4 | M 16 | 4,0 |
| 65 | 63 | 185 | 145 | 19 | 80 | 90 | 4 | M 16 | 4,3 |
| 65 | 75 | 185 | 145 | 19 | 82 | 92 | 4 | M 16 | 4,3 |
| 80 | 75 | 200 | 160 | 19 | 82 | 92 | 8 | M 16 | 5,0 |
| 80 | 90 | 200 | 160 | 19 | 85 | 95 | 8 | M 16 | 5,5 |
| 100 | 90 | 220 | 180 | 19 | 85 | 95 | 8 | M 16 | 6,8 |
| 100 | 110 | 220 | 180 | 19 | 85 | 95 | 8 | M 16 | 6,2 |
| 100 | 125 | 220 | 180 | 19 | 87 | 97 | 8 | M 16 | 7,0 |
| 125 | 110 | 250 | 210 | 19 | 85 | 95 | 8 | M 16 | 7,8 |
| 125 | 125 | 250 | 210 | 19 | 87 | 97 | 8 | M 16 | 8,2 |
| 125 | 140 | 250 | 210 | 19 | 93 | 103 | 8 | M 16 | 8,5 |
| 150 | 140 | 285 | 240 | 19 | 93 | 103 | 8 | M 16 | 11,3 |
| 150 | 160 | 285 | 240 | 19 | 105 | 115 | 8 | M 20 | 10,5 |
| 150 | 180 | 285 | 240 | 19 | 115 | 125 | 8 | M 20 | 11,6 |
| 200 | 200 | 340 | 295 | 20 | 125 | 135 | 8 | M 20 | 18,0 |
| 200 | 225 | 340 | 295 | 20 | 128 | 138 | 8 | M 20 | 16,0 |
| 250 | 250 | 400 | 350 | 22 | 145 | 155 | 12 | M 20 | 22,0 |
| 250 | 280 | 400 | 350 | 22 | 148 | 158 | 12 | M 20 | 29,0 |
| 300 | 315 | 455 | 400 | 25 | 174 | 184 | 12 | M 20 | 44,0 |
| 300 | 355 | 455 | 400 | 25 | 237 | 277 | 12 | M 20 | 61,0 |
| 400 | 400 | 565 | 515 | 25 | 230 | 242 | 16 | M 24 | 97,0 |
| 400 | 450 | 565 | 515 | 25 | 260 | 302 | 16 | M 24 | 81,0 |
Дополнительно:
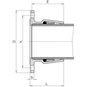
Фланец двухкамерный для ПВХ труб
Артикул:5600
| DNфланца, (мм) | Диаметр трубы, (мм) | D, (мм) | К, (мм) | b, (мм) | Материал | L(собранный),(мм) | Болты | Вес, (кг) | |
| Количество | Резьба | ||||||||
| 50 | 63 | 165 | 125 | 24 | G | 54 | 4 | M 16 | 2,0 |
| 60 | 75 | 175 | 135 | 24 | G | 54 | 4 | M 16 | 2,6 |
| 65 | 75 | 185 | 145 | 24 | G | 54 | 4 | M 16 | 3,0 |
| 80 | 90 | 200 | 160 | 25 | G | 60 | 8 | M 16 | 3,2 |
| 100 | 110 | 220 | 180 | 26 | G | 62 | 8 | M 16 | 4,1 |
| 150 | 160 | 285 | 240 | 29 | G | 66 | 8 | M 20 | 6,7 |
| 200 | 200 | 340 | 295 | 31 | S | 93 | 8 | M 20 | 9,4 |
| 200 | 225 | 340 | 295 | 24 | S | 92 | 8 | M 20 | 7,9 |
| 250 | 280 | 400 | 350 | 32 | S | 114 | 12 | M 20 | 15,5 |
| 300 | 315 | 445 | 400 | 33 | S | 117 | 12 | M 20 | 15,8 |
| 400 | 400 | 565 | 515 | 33 | S | 134 | 16 | M 24 | 27,0 |
Дополнительно:
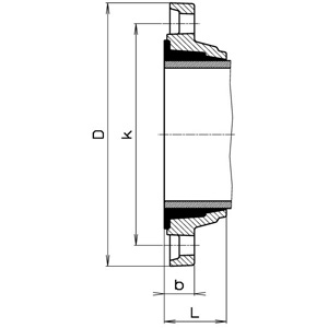
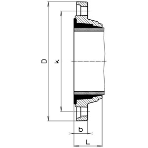
Фланец двухкамерный для стальных труб
Артикул:7101
| DNфланца, (мм) | Диаметр трубы, (мм) | D, (мм) | К, (мм) | b, (мм) | Материал | L (собранный), (мм) | Болты | Вес, (кг) | |
| Количество | Резьба | ||||||||
| 50 | 56-57 | 165 | 125 | 26 | S | 54 | 4 | M 16 | 2,6 |
| 50 | 59-61 | 165 | 125 | 26 | S | 54 | 4 | M 16 | 2,6 |
| 65 | 76 | 185 | 145 | 28 | G | 56 | 4 | M 16 | 3,5 |
| 100 | 108 | 220 | 180 | 25 | S | 63 | 8 | M 16 | 3,8 |
| 100 | 114 | 220 | 180 | 23 | S | 63 | 8 | M 16 | 3,5 |
| 125 | 133 | 250 | 210 | 33 | G | 64 | 8 | M 16 | 6,8 |
| 200 | 219 | 340 | 295 | 30 | S | 71 | 8 | M 20 | 8,6 |
| 300 | 316 | 455 | 400 | 49 | G | 82 | 12 | M 20 | 18,5 |
Дополнительно:
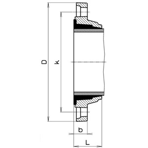
Фланец двухкамерный для чугунных труб
Артикул:7102
| DNфланца, (мм) | Диаметр трубы, (мм) | D, (мм) | К, (мм) | b, (мм) | L, (мм) | Материал | Болты | Вес, (кг) | |
| Количество | Резьба | ||||||||
| 50 | 66 | 165 | 125 | 22 | 56 | S | 4 | M 16 | 1,8 |
| 60 | 77 | 175 | 135 | 28 | 56 | S | 4 | M 16 | 3,1 |
| 65 | 82 | 185 | 145 | 29 | 58 | G | 4 | M 16 | 3,4 |
| 80 | 98 | 200 | 160 | 22 | 64 | S | 8 | M 16 | 2,6 |
| 80 | 101 | 200 | 160 | 22 | 64 | S | 8 | M 16 | 2,8 |
| 100 | 118 | 220 | 180 | 23 | 62 | S | 8 | M 16 | 3,1 |
| 125 | 144 | 250 | 210 | 24 | 66 | S | 8 | M 16 | 4,2 |
| 150 | 170 | 285 | 240 | 25 | 66 | S | 8 | M 20 | 5,2 |
| 200 | 222 | 340 | 295 | 30 | 71 | S | 8 | M 20 | 7,6 |
| 250 | 273-274 | 400 | 350 | 32 | 78 | S | 12 | M 20 | 10,9 |
| 300 | 326 | 455 | 400 | 33 | 82 | S | 12 | M 20 | 13,8 |
| 400 | 429 | 570 | 515 | 37 | 103 | S | 16 | M 24 | 22,0 |
S — из ковкого чугуна;
G — из серого чугуна.
G — из серого чугуна.
Дополнительно:
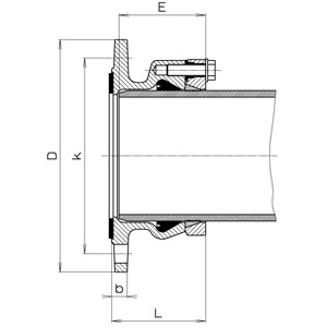
Фланец системы ISO для ПЭ труб
Артикул:5500
| DNфланца, (мм) | Диаметр трубы, (мм) | D, (мм) | К, (мм) | b, (мм) | Мате риал | Е, (мм) | L(собранный),(мм) | Болты | Вес, (кг) | |
| Количество | Резьба | |||||||||
| 40 | 50 | 150 | 112 | 23 | G | 93 | 97 | 4 | М 16 | 2,6 |
| 50 | 63 | 165 | 125 | 23 | G | 80 | 94 | 4 | М 16 | 3,2 |
| 60 | 75 | 175 | 138 | 24 | G | 100 | 105 | 4 | М 16 | 3,9 |
| 65 | 75 | 185 | 145 | 24 | G | 99 | 105 | 4 | М 16 | 4,0 |
| 80 | 90 | 200 | 160 | 24 | G | 96 | 101 | 8 | М 16 | 4,2 |
| 100 | 110 | 220 | 180 | 25 | G | 119 | 124 | 8 | М 16 | 6,7 |
| 100 | 125 | 220 | 180 | 25 | G | 162 | 173 | 8 | М 16 | 8,2 |
| 150 | 160 | 285 | 240 | 19 | S | 148 | 155 | 8 | М 20 | 9,3 |
Дополнительно:
Фланец фиксирующий для стальных труб
Артикул:7601
| DNфланца, (мм) | Диаметр трубы, (мм) | D, (мм) | К, (мм) | b, (мм) | L (собранный), (мм) | Болты | Вес, (кг) | |
| Количество | Резьба | |||||||
| 50 | 60 | 165 | 125 | 39 | 61 | 4 | M 16 | 2,7 |
| 65 | 76 | 185 | 145 | 38 | 61 | 4 | M 16 | 3,4 |
| 80 | 89 | 200 | 160 | 39 | 67 | 8 | M 16 | 3,9 |
| 100 | 108 | 220 | 180 | 39 | 69 | 8 | M 16 | 4,6 |
| 100 | 114 | 220 | 180 | 44 | 69 | 8 | M 16 | 4,4 |
| 125 | 133 | 250 | 210 | 39 | 69 | 8 | M 16 | 5,8 |
| 150 | 159 | 285 | 240 | 49 | 73 | 8 | M 20 | 7,8 |
| 150 | 168 | 285 | 240 | 52 | 73 | 8 | M 20 | 7,3 |
| 200 | 219 | 340 | 295 | 52 | 81 | 8 | M 20 | 10,0 |
Дополнительно:
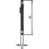
Фланец фиксирующий для чугунных труб
Артикул:7602
| DNфланца, (мм) | Диаметр трубы, (мм) | D, (мм) | К, (мм) | b, (мм) | L (несобранный), (мм) | Болты | Вес, (кг) | |
| Количество | Резьба | |||||||
| 50 | 66 | 165 | 125 | 60 | 71 | 4 | M 16 | 3,0 |
| 60 | 77 | 175 | 135 | 60 | 73 | 4 | M 16 | 3,2 |
| 65 | 82 | 185 | 145 | 63 | 79 | 4 | M 16 | 3,7 |
| 80 | 98 | 200 | 160 | 59 | 76 | 8 | M 16 | 3,9 |
| 100 | 118 | 220 | 180 | 60 | 78 | 8 | M 16 | 4,6 |
| 125 | 144 | 250 | 210 | 62 | 85 | 8 | M 16 | 6,0 |
| 150 | 170 | 285 | 240 | 87 | 98 | 8 | M 20 | 10,0 |
| 200 | 222 | 340 | 295 | 90 | 105 | 8 | M 20 | 14,5 |
| 250 | 274 | 400 | 355 | 90 | 105 | 12 | M 20 | 17,5 |
| 300 | 326 | 455 | 405 | 90 | 105 | 12 | M 20 | 21,5 |
Дополнительно:
Фланец чугунный переходной
Артикул:1563
| DN, (мм) | Тип | b, (мм) | К1, (мм) | Z1 | G1, (мм) | d, (мм) | К2, (мм) | Z2 | G2, (мм) | Вес, (кг) |
| 65/50 | А | 47 | 145 | 4 | М16х50 | - | 125 | 4 | М 16х50 | 5,6 |
| 80/50 | А | 28 | 160 | 4 | М16х50 | - | 125 | 4 | М 16х50 | 5,6 |
| 80/50 | А | 28 | 160 | 8 | М16х50 | - | 125 | 4 | М 16х50 | 5,6 |
| 80/65 | А | 28 | 160 | 8 | М16х50 | - | 145 | 4 | М 16х50 | 5,4 |
| 100/50 | А | 27 | 180 | 8 | М16х50 | - | 125 | 4 | М 16х50 | 6,3 |
| 100/65 | А | 30 | 180 | 8 | М16х50 | - | 145 | 4 | М 16х50 | 6,5 |
| 100/80 | А | 47 | 180 | 8 | М16х50 | - | 160 | 8 | М 16х50 | 8,4 |
| 100/100 | А | 47 | 180 | 8 | М16х50 | - | 180 | 6 | М 16х50 | 8,3 |
| 125/50 | А | 30 | 210 | 4 | М16х50 | - | 125 | 4 | М 16х50 | 7,6 |
| 125/50 | А | 30 | 210 | 8 | М16х50 | - | 125 | 4 | М 16х50 | 8,2 |
| 125/65 | А | 30 | 210 | 8 | М16х50 | - | 145 | 4 | М 16х50 | 8,2 |
| 125/80 | А | 30 | 210 | 8 | М16х50 | - | 160 | 8 | М 16х50 | 8,0 |
| 125/100 | А | 30 | 210 | 8 | М16х50 | - | 180 | 8 | М 16х50 | 7,6 |
| 150/50 | В | 30 | 240 | 8 | - | 23 | 125 | 4 | М 16х50 | 11,0 |
| 150/65 | В | 30 | 240 | 8 | - | 23 | 145 | 4 | М 16х50 | 10,8 |
| 150/80 | В | 30 | 240 | 8 | - | 23 | 160 | 8 | М 16х50 | 10,7 |
| 150/100 | А | 30 | 240 | 8 | М20х60 | - | 180 | 8 | М 16х50 | 9,7 |
| 150/125 | А | 30 | 240 | 8 | М20х60 | - | 210 | 8 | М 16х50 | 11,2 |
| 200/50 | В | 30 | 295 | 8 | - | 23 | 125 | 4 | М 16х50 | 14,9 |
| 200/50 | В | 30 | 295 | 12 | - | 23 | 125 | 4 | М 16х50 | 14,9 |
| 200/65 | В | 30 | 295 | 8 | - | 23 | 145 | 4 | М 16х50 | 14,8 |
| 200/80 | В | 30 | 295 | 8 | - | 23 | 160 | 8 | М 16х50 | 14,7 |
| 200/80 | В | 30 | 295 | 12 | - | 23 | 160 | 8 | М 16х50 | 14,5 |
| 200/100 | В | 30 | 295 | 8 | - | 23 | 180 | 8 | М 16х50 | 15,0 |
| 200/100 | В | 30 | 295 | 12 | - | 23 | 180 | 8 | М 16х50 | 14,9 |
| 200/125 | В | 30 | 295 | 8 | - | 23 | 210 | 8 | М 16х50 | 13,7 |
| 200/125 | В | 30 | 295 | 12 | - | 23 | 210 | 8 | М 16х50 | 13,7 |
| 200/150 | А | 32 | 295 | 8 | М20х60 | - | 240 | 8 | М 20х60 | 16,5 |
| 200/150 | А | 32 | 295 | 12 | М20х60 | - | 240 | 8 | М 20х60 | 13,7 |
| 200/200 | А | 32 | 295 | 12 | М20х60 | - | 295 | 8 | М 20х60 | 13,3 |
| 250/50 | В | 31 | 350 | 12 | - | 23 | 125 | 4 | М 16х50 | 22,3 |
| 250/65 | В | 31 | 350 | 12 | - | 23 | 145 | 4 | М 16х50 | 22,2 |
| 250/80 | В | 31 | 350 | 12 | - | 23 | 160 | 8 | М 16х50 | 22,1 |
| 250/100 | В | 31 | 350 | 12 | - | 23 | 180 | 8 | М 16х50 | 21,9 |
| 250/125 | В | 31 | 350 | 12 | - | 23 | 210 | 8 | М 16х50 | 21,5 |
| 250/150 | В | 31 | 350 | 12 | - | 23 | 240 | 8 | М 20х60 | 20,0 |
| 250/200 | А | 32 | 350 | 12 | М20х60 | - | 295 | 8 | М 20х60 | 21,3 |
| 250/250 | А | 66 | 350 | 12 | М20х60 | - | 355 | 12 | М 24х70 | 15,0 |
| 300/50 | В | 31 | 400 | 12 | - | 23 | 125 | 4 | М 16х50 | 27,9 |
| 300/80 | В | 31 | 400 | 12 | - | 23 | 160 | 8 | М 16х50 | 27,5 |
| 300/100 | В | 31 | 400 | 12 | - | 23 | 180 | 8 | М 16х50 | 27,1 |
| 300/125 | В | 31 | 400 | 12 | - | 23 | 210 | 8 | М 16х50 | 27,2 |
| 300/150 | В | 38 | 400 | 12 | - | 23 | 240 | 8 | М 20х60 | 33,0 |
| 300/200 | В | 32 | 400 | 12 | - | 23 | 295 | 8 | М 20х60 | 24,8 |
| 300/200 | В | 32 | 400 | 12 | - | 23 | 295 | 12 | М 20х60 | 24,8 |
| 300/250 | А | 33 | 400 | 12 | М20х60 | - | 350 | 12 | М 20х60 | 22,6 |
| 400/80 | В | 38 | 515 | 16 | - | 28 | 160 | 8 | М 16х50 | 55,1 |
| 400/100 | В | 38 | 515 | 16 | - | 28 | 180 | 8 | М 16х50 | 53,8 |
| 400/125 | В | 38 | 515 | 16 | - | 28 | 210 | 8 | М 16х50 | 50,2 |
| 400/150 | В | 38 | 515 | 16 | - | 28 | 240 | 8 | М 20х60 | 50,2 |
| 400/200 | В | 38 | 515 | 16 | - | 28 | 295 | 8 | М 20х60 | 46,2 |
| 400/250 | В | 38 | 515 | 16 | - | 28 | 350 | 12 | М 20х60 | 40,3 |
| 400/300 | В | 39 | 515 | 16 | - | 28 | 400 | 12 | М 20х60 | 39,8 |
| 400/400 | А | 83 | 515 | 16 | М24х70 | - | 525 | 16 | М 27х70 | 78,1 |
| 500/150 | В | 47 | 620 | 20 | - | 28 | 240 | 8 | М 20х60 | 85,0 |
| 500/200 | В | 47 | 620 | 20 | - | 28 | 295 | 8 | М 20х60 | 91,0 |
| 500/200 | В | 45 | 620 | 20 | - | 28 | 295 | 12 | М 20х60 | 91,0 |
| 500/300 | В | 47 | 620 | 20 | - | 28 | 400 | 12 | М 20х60 | 85,5 |
| 500/400 | В | 47 | 620 | 20 | - | 28 | 515 | 16 | М 24х70 | 65,5 |
| 500/500 | А | 91 | 650 | 20 | М30х80 | - | 620 | 20 | М 24х70 | - |
| 600/80 | В | 45 | 725 | 20 | - | 31 | 160 | 8 | М 16х50 | 125,0 |
| 600/100 | В | 45 | 725 | 20 | - | 31 | 180 | 8 | М 16х50 | 148,0 |
| 600/125 | В | 45 | 725 | 20 | - | 31 | 210 | 8 | М 16х50 | - |
| 600/150 | В | 45 | 725 | 20 | - | 31 | 240 | 8 | М 20х60 | 121,0 |
| 600/300 | В | 45 | 725 | 20 | - | 31 | 400 | 12 | М 20х60 | 110,0 |
| 600/400 | В | 45 | 725 | 20 | - | 31 | 515 | 16 | М 24х70 | 115,0 |
| 600/500 | А | 60 | 725 | 20 | М27х70 | - | 620 | 20 | М 24х70 | 120,0 |
| 600/600 | А | 100 | 725 | 20 | М27х80 | - | 770 | 20 | М 33х80 | 168,3 |
| 700/100 | В | 50 | 840 | 24 | - | 31 | 180 | 8 | М 16х50 | 196,1 |
| 800/500 | В | 68 | 950 | 24 | - | 34 | 620 | 20 | М 24х70 | 200,0 |
| 800/700 | А | 56 | 950 | 24 | М30х80 | - | 840 | 24 | М 27х80 | 176,0 |
| 800/800 | А | 105 | 950 | 24 | М30х80 | - | 950 | 24 | М 36х90 | 165,5 |
DN — номинальный диаметр фланца;
b — толщина фланца;
К1 — расстояние между центрами отверстий (шпилек) во фланце со стороны большего диаметра;
Z1 — количество отверстий во фланце со стороны большего диаметра;
G1 — марка/длина шпильки со стороны большего диаметра;
d — диаметр отверстия во фланце;
К2 — расстояние между центрами отверстий во фланце со стороны меньшего диаметра;
Z2 — количество отверстий во фланце со стороны меньшего диаметра;
G2 — марка/длина шпильки со стороны меньшего диаметра.
b — толщина фланца;
К1 — расстояние между центрами отверстий (шпилек) во фланце со стороны большего диаметра;
Z1 — количество отверстий во фланце со стороны большего диаметра;
G1 — марка/длина шпильки со стороны большего диаметра;
d — диаметр отверстия во фланце;
К2 — расстояние между центрами отверстий во фланце со стороны меньшего диаметра;
Z2 — количество отверстий во фланце со стороны меньшего диаметра;
G2 — марка/длина шпильки со стороны меньшего диаметра.
Дополнительно:
Фланец чугунный с внутренней резьбой
Артикул:1561
| DNфланца/L, (мм) | Вес, (кг) |
| 50х1''/20 | 2,8 |
| 50х1 1/4''/20 | 2,7 |
| 50х2''/20 | 2,5 |
| 65х1''/22 | 3,7 |
| 65х1 1/4''/22 | 3,6 |
| 65х1 1/2''/22 | 3,5 |
| 65х2''/22 | 3,4 |
| 80х1''/22 | 3,9 |
| 80х1 1/4''/22 | 3,8 |
| 80х1 1/2''/22 | 3,7 |
| 80х2''/22 | 3,6 |
| 100х1''/24 | 4,5 |
| 100х1 1/4''/24 | 4,4 |
| 100х1 1/2''/24 | 4,3 |
| 100х2''/24 | 4,2 |
| 100х4''/24 | |
| 150х1''/26 | 7,5 |
| 150х1 1/4''/26 | 7,4 |
| 150х1 1/2''/26 | 7,3 |
| 150х2''/26 | 7,2 |
| Ø 200-600 |
Дополнительно:

































